1-6mm齒輪跳動檢查儀
簡介:齒輪跳動檢查儀是對具有孔的圓柱和圓錐的徑向跳動也端面挑定進行測定。我廠1-6模數跳動儀常年生產,精度,質量同行業一!
齒輪跳動檢查儀用于檢查6級或6級以下精度圓柱,圓錐外齒和齒輪及蝸輪蝸桿的徑向跳動或端面跳動。
齒輪跳動檢查儀工作原理:齒圈徑向跳動△Fr,在齒輪一轉范圍內,測頭在槽齒輪上,與齒中部雙面接觸,測頭相對于齒輪軸線的變動量。為此,齒圈徑向跳動的檢查是借具有原始齒條形的測量頭進行。檢查時將裝在芯軸上的被檢查齒輪,固定在儀器兩頂針間內,并用指示表示出測量頭位置對齒輪轉動軸線的跳動量。
1-6mm齒輪跳動檢查儀參數:被測工件大直徑是150mm;測量長度300mm;兩頂針間大距離是190mm,測量支架轉動范圍正負90度,指針分度值是0.001mm;單臺凈重150kg左右。
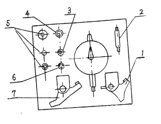
1-6模數齒輪跳動儀配套附件如下:

1.直角杠桿:供測端面跳動。2.扳手:供裝拆側頭。3.球形測量頭:供直角和水平杠桿用。4.接頭:供接長圓錐測量頭。5.圓錐測量頭:供測200壓力家,模數1
我廠1-6模數齒輪跳動儀實物圖:

相關資訊
電話:0317-8332456
傳真:0317-8333626
郵箱:xihailiangju@sina.com
地址:河北省泊頭市交河開發區
新浪微博
騰訊微博








